Capitulo 127
Aplicativo MAZDA
Motor JE DOHC
929 3.0L V6
Serenia 3.0L V6 (Canadá)
ANO: 1990-94
Sempre deve ser levados em conta o uso prévio e a história de serviço do veículo.
| Siga Especificações para evitar danos ao Motor |
Caso não haja a instalação da correia com precisão, pode haver dano nos pistões e Válvulas.
Um cheque de compressão de todos os cilindros deveria ser executado antes de remover o CABEÇOTE.

1)-Drene o líquido de arrefecimento.
2)- Remova:
a)-Duto de entrada de ar.
b)- Correias de acessórios adicionais.
c)- Ventoinha e polia.
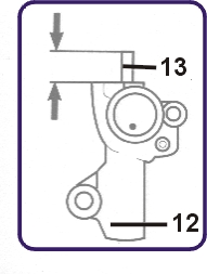
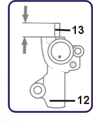
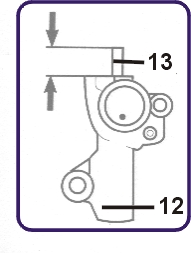
d)- Polia do compressor do ar-condicionado e delimitador (fig.
1).
e)- Polia da direção hidráulica e delimitador (fig.
2).f)- Mangueira superior do radiador.
g)- Mangueira By-pass.
h)- Distribuidor.
i)- Parafuso da polia da árvore de manivelas (fig.
3).j)- Polia da árvore de manivelas (fig.
4).k)- Protetor superior esquerdo da correia de sincronismo (fig.
5).l)- Protetor inferior esquerdo da correia de sincronismo (fig.
6).m)- Protetor direito da correia de sincronismo (fig.
7).3)- Gire a árvore de manivelas à direita até que as marcas de sincronismo da engrenagem da árvore de manivelas e comando de válvulas estejam alinhadas (fig.
8 e 9).

Nota: Alinhe as marcas A na engrenagem de saída do comando de válvulas e as marcas B nas engrenagens de entrada do comando de válvulas.
4)- Remova:
a)- Polia guia superior G1 (fig.
10).b)- Correia de sincronismo.
c)- Parafusos retentores do auto-tencionador (fig.
11).
d)- Auto-tencionador (fig.
12).
Nota: Se for usar a correia antiga, marque a direção de rotação com giz.
1)- Confirme que as marcas de sincronismo estejam alinhadas (fig.
8 e 9).

2)- Confirme se não há danos ou vazamentos no auto-tencionador (fig.
12) e se o comprimento da barra (fig. 13) é de 12.9-15mm. Se não, troque o auto-tencionador.
3)- Usando uma prensa, compressione a barra (fig.
13) para dentro do auto-tencionador (fig. 12) e retenha a barra com um pino através do buraco (fig. 14).

Nota: Coloque uma arruela reta (fig. 15) embaixo do auto-tencionador para evitar danos no final do plug. Não aplique uma pressão superior à 2200lbs/pol2
4)- Instale o auto-tencionador (fig.
12) no bloco do cilindro.5)- Aplique um torque nos parafusos do tencionador (fig.
11).
6)- Instale a correia de sincronismo nas engrenagens e polias na seguinte ordem:
a)- Engrenagem da árvore de manivelas.
b)- Polia guia G2.
c)- Engrenagem do comando de válvulas CA1.
d)- Engrenagem do comando de válvulas CA2.
e)- Polia tencionadora.
f)- Engrenagem do comando de válvulas CA4.
g)- Engrenagem do comando de válvulas CA3.
Nota: Alinha as marcas A nas engrenagens de saída do comando de válvulas com as B nas engrenagens de entrada do comando de válvulas. Se for usar a correia antiga, observe a direção de rotação marcada.
7)- Aplique uma tensão com a mão na correia de sincronismo, então instale a polia guia G1 (fig.
10), aplique um torque de 43-61Nm no parafuso (fig. 16).8)- Gire a árvore de manivelas duas voltas à direita até que as marcas de sincronismo estejam alinhadas (fig.
8 e 9).

9)- Remova o pino do buraco do auto-tencionador (fig.
14) para soltar a barra.10)- Gire a árvore de manivelas duas voltas à direita até que as marcas de sincronismo estejam alinhadas (fig.
8 e 9).11)- Aplique uma carga de 22lbs na Ñ , a correia deve deformar 6.6-8.5mm. Se não repita os procedimentos de instalação e tencionamento.
12)- Instale os componentes na ordem inversa de que foram removidos.
13)- Aplique um torque de 150-160Nm no parafuso da polia da árvore de manivelas (fig.
3).
14)- Recarregue o sistema de refrigeração.
15)- Cheque e ajuste o sincronismo da ignição.
Nota: Coloque o pino verde no conector de teste localizado na frente do painel de montagem esquerdo antes de checar o ajuste de sincronismo da ignição.