Capitulo 119
Aplicativo MAZDA
Motor JE SOHC
929 3.0L V6
MPV 3.0L V6
ANO: 1988-98
Sempre deve ser levados em conta o uso prévio e a história de serviço do veículo.
| Siga Especificações para evitar danos ao Motor |
Caso não haja a instalação da correia com precisão, pode haver dano nos pistões e Válvulas.
Um cheque de compressão de todos os cilindros deveria ser executado antes de remover o CABEÇOTE.

1)- Drene o liquido de arrefecimento.
2)- Remova:
a)- Duto de entrada de ar.
b)- Correias de acessórios adicionais.
c)- Ventoinha, envoltório e polia.
d)- Delimitador e polia do compressor do ar-condicionado (fig.
1).
e)- Mangueira superior do radiador.
f)- Mangueira By-pass.
g)- Parafusos da polia da árvore de manivelas (fig.
2) apenas 929.h)- Parafuso central da polia da árvore de manivelas (fig.
2) apenas MPV.i)- Polia da árvore de manivelas (fig.
3).j)- Arruela guia da correia de sincronismo (fig.
4) apenas 929.k)- Protetor direito da correia de sincronismo (fig.
5).l)- Protetor esquerdo da correia de sincronismo (fig.
6).3)- Gire a árvore de manivelas até a posição com as marcas de sincronismo da árvore de manivelas e comando de válvulas alinhadas (fig.
7, 8 e 9).


4)- Remova:
a)- Polia guia superior (G1) (fig.
10).b)- Correia de sincronismo.
c)- Parafusos retentores do auto-tencionador (fig.
11).
d)- Auto-tencionador (fig.
12).Nota: Se for usar a correia antiga, marque a direção de rotação com giz.
1)- Confirme que as marcas de sincronismo estejam alinhadas (fig.
7, 8 e 9).


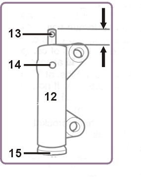
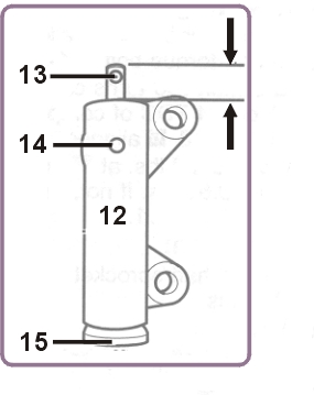
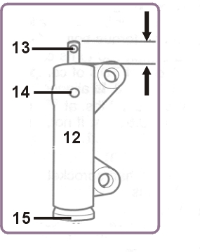
2)- Cheque se não há danos ou vazamentos no auto-tencionador (fig.
12) e se o comprimento da barra é de 12.9-15.1mm (fig. 13). Se não for, substitua o auto-tencionador.
3)- Usando uma prensa, pressione lentamente a barra para dentro do auto-tencionador (fig.
13) para dentro do tencionador (fig. 12).Insira um pino através do buraco da barra (fig. 14), para reter a barra na posição retraída.Nota: Coloque uma arruela reta (fig.
15) embaixo do auto-tencionador para evitar danos no final do plug. Não aplique uma tensão superior à 2200lbs/pol24)- Instale o auto-tencionador (fig.
13) no bloco do cilindro.5)- Aplique um torque 19-25Nm nos parafusos do auto-tencionador (fig.
11).
6)- Instale a correia de sincronismo nas engrenagens e polias na seguinte ordem:
a)- Engrenagem da árvore de manivelas.
b)- Polia guia G2.
c)- Engrenagem do comando de válvulas CA1.
d)- Polia tencionadora.
e)- Engrenagem do comando de válvulas CA2.
Nota: Se for usar a mesma correia, observe a direção de rotação.
7)- Aplique uma tensão com a mão na correia de sincronismo e instale a polia guia G1 (fig.
10), aplique um torque de 37-51Nm no parafuso (fig. 13).
8)- Gire a árvore de manivelas duas voltas à direita até que as marcas de sincronismo estejam alinhadas (fig.
7, 8 e 9).


9)- Remova o pino do buraco do auto-tencionador (fig.
14) para soltar a barra.
10)- Gire novamente a árvore de manivelas duas voltas à direita até que as marcas de sincronismo estejam alinhadas (fig.
9, 7 e 8).


11)- Aplique uma carga de 22lbs na Ñ , a correia de sincronismo deve deformar 5.5-7.7mm. Se não, repita os procedimentos de instalação e tencionamento.
12)- Instale os componentes na ordem inversa de que foram removidos.
13)- Aplique um torque de 100-145Nm (929) ou 150-165Nm (MPV) nos parafusos da polia da árvore de manivelas (fig.
2).
14)- Recarregue o sistema de refrigeração.