Capitulo 118
Aplicativo MAZDA
Motor KL
Millenia 2.5L V6
ANO: 1995-97
Sempre deve ser levados em conta o uso prévio e a história de serviço do veículo.
| Siga Especificações para evitar danos ao Motor |
Caso não haja a instalação da correia com precisão, pode haver dano nos pistões e Válvulas.
Um cheque de compressão de todos os cilindros deveria ser executado antes de remover o CABEÇOTE.

1)- Levante e apóie a frente do veículo.
2)- Remova:
a)- Roda dianteira direita.
b)- Protetor da água direito.
c)- Correias de acessórios adicionais
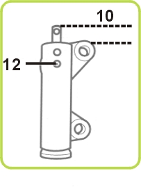
d)- Polia da bomba dágua (fig.
1).
e)- Delimitador e polia das correias de acessórios adicionais (fig.
2).f)- Bomba da direção hidráulica (deixe as mangueiras conectadas).
g)- Parafuso da polia da árvore de manivelas (fig.
14).h)- Polia da árvore de manivelas (fig.
3).Nota: Remova a polia da árvore de manivelas cuidadosamente o rotor do sensor de posição está na traseira da polia e pode ser danificado.
i)- Tubo.
j)- Sensor de posição da árvore de manivelas.
k)- Protetores da correia de sincronismo (fig.
4).3)- Apóie o motor.
4)- Remova a montagem direita do motor.
5)- Instale temporariamente o parafuso da polia da árvore de manivelas
(fig.
14).6)- Gire a árvore de manivelas lentamente duas vezes à direita até o cilindro N° 1 no ponto morto superior de compressão.
7)- Confirme que as marcas de sincronismo estejam alinhadas (fig.
5 e 6).

8)- Remova:
a)- Parafusos retentores do auto-tencionador (fig.
7).
b)- Parafuso da polia guia e polia (fig.
9).c)- Parafuso da polia tencionadora e polia (fig.
8).
d)- Parafuso da polia guia e polia (fig.
15).Nota: Se for usar a correia antiga, marque a direção de rotação com giz.
1)- Cheque a polia tencionadora para operar suavemente.
2)- Instale a polia tencionadora e aplique um torque de 38-42Nm nos parafusos retentores (fig.
8).
3)- Cheque as polias guias para operarem suavemente.
4)- Instale a polia guia e aplique um torque de 38-42 nos parafusos retentores (fig.
15).5)- Cheque se não há danos ou vazamentos no auto-tencionador.
6)- Cheque se o comprimento da barra é de 15.4-17mm (fig.
10).
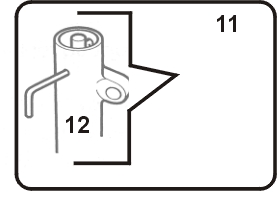
7)- Usando uma prensa, pressione lentamente a barra para dentro do auto-tencionador (fig.
11).
8)- Insira uma chave Allen 1,7mm ou uma barra através da barra e do segundo buraco no corpo (fig.
12), para reter a barra na posição retraída.9)- Instale o auto-tencionador e aperte ligeiramente os parafusos retentores (fig.
7).
10)- Confirme que todas as marcas de sincronismo estejam alinhadas
(fig.
5 e 6).

11)- Instale a correia de sincronismo nas engrenagens e polias na seguinte ordem:
a)- Engrenagem da árvore de manivelas.
b)- Polia guia (G2).
c)- Engrenagem esquerda do comando de válvulas (CA1).
d)- Polia tencionadora (T).
e)- Engrenagem direita do comando de válvulas (CA2).
Nota: Se for usar a correia antiga, observe a direção de rotação
12)- Confirme que a correia de sincronismo tencione entre as engrenagens da árvore de manivelas e comando de válvulas.
13)- Pressione firmemente a correia entre as engrenagens do comando de válvulas e instale a polia guia (G1).
14)- Aplique um torque de 38-42Nm no parafuso retentor da polia guia (fig.
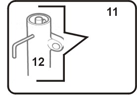
9).15)- Empurre o auto-tencionador firmemente na direção da (fig.
13).
16)- Aplique um torque de 19-24Nm nos parafusos retentores (fig.
7).
17)- Remova a chave Allen ou barra que retém a barra do auto-tencionador (fig.
12) e deixe o tencionador operar.
18)- Gire a árvore de manivelas lentamente duas vezes à direita até o cilindro N° 1 no ponto morto superior de compressão.
19)- Confirme que as marcas de sincronismo estejam alinhadas (fig.
5 e 6).

20)- Aplique uma carga de 22lbs na Ñ e a deformação na correia deve ser de 6,6-8,5mm.
21)- Se a deformação estiver incorreta, troque o auto-tencionador.
22)- Remova o parafuso da polia da árvore de manivelas (fig.
14).
23)- Instale os componentes na ordem inversa de que foram removidos.
24)- Aplique um torque de 151-160Nm no parafuso da polia da árvore
de manivelas (fig.
14).