Capitulo 43
Aplicativo DODGE
Motor 6G72 DOHC
Stealth 3.0L V6
Stealth AWD 3.0L V6
Ano: 1991-97
Sempre deve ser levados em conta o uso prévio e a história de serviço do veículo.
| Siga Especificações para evitar danos ao Motor |
Caso não haja a instalação da correia com precisão, pode haver dano nos pistões e Válvulas.
Um cheque de compressão de todos os cilindros deveria ser executado antes de remover o CABEÇOTE.
b) - Não gire a Árvore de Manivelas nem o Comando de Válvulas ao remover a correia dentada.
c) - Remova as velas para aliviar a pressão do motor se ele tiver que ser girado.
d) - Gire a Árvore de manivelas no sentido normal de funcionamento ou seja no sentido horário.
e) - Não gire a Árvore de Manivelas pelo Comando de Válvulas ou pôr outra polia.
f) - Observe todos torques
.
1)- Remova:
a) - Protetores de água.b) - Atuador de velocidade (se instalado).
c) - Correias de acessórios adicionais.
d) - Tencionador e polia inativa das correias de acessórios adicionais.
e) - Alternador.
f) - Protetores superiores da correia de sincronismo (fig. 1).
2)- Usando uma ferramenta, segure a polia da árvore de manivelas e remova o parafuso da polia.
3)- Apóie o motor.
4)- Remova:
a) - Polia da árvore de manivelas (fig. 2).b) -
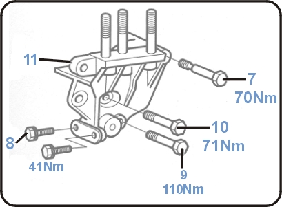
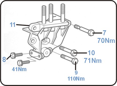
Parafuso da montagem do motor e montagem.c) - Parafusos do delimitador do suporte da montagem do motor, desrosqueie os parafusos na ordem inversa (fig. 10) a (fig. 7).

d) - Delimitador do suporte da montagem do motor (fig. 11).
e) - Protetor inferior da correia de sincronismo (fig. 3).
5)- Gire a árvore de manivelas à direita até o cilindro N° 1 no ponto morto superior de compressão com as marcas de sincronismo alinhadas (fig. 5).

6)-Confirme que as marcas de sincronismo do comando de válvulas estejam alinhadas (fig. 4).

7)- Solte o parafuso tencionador (fig. 6), empurre o tencionador para longe da correia e aperte ligeiramente o parafuso.
8)- Remova a correia de sincronismo.
9)- Remova o auto-tencionador.
1)- Usando uma prensa, compressione cuidadosamente a barra do auto-tencionador.
2)- Instale um pino ou chave Allen de 0.06"pol (1.6m.m) através do corpo e da barra para segurar a unidade na posição pressionada (fig.
16).
3)- Instale o auto-tencionador e aplique um torque de 23Nm nos parafusos retentores.
4)- Confirme que as marcas de sincronismo estejam alinhadas (fig.
4 e 5).

Nota: Se as marcas do comando de válvulas não estão alinhadas, gire a árvore de manivelas 3 dentes da engrenagem à esquerda para prevenir o contato entre as válvulas e pistões quando girar os comandos de válvulas.
5)- Gire a árvore de manivelas um dente da engrenagem à esquerda.
6)- Usando os clipes (fig.
13) para segurar a correia de sincronismo nas engrenagens e instale a correia nas polias e engrenagens na seguinte ordem: a) - Engrenagem do comando de válvulas Cv1.b) - Engrenagem do comando de válvulas Cv2.
c) - Polia da bomba dágua.
d) - Engrenagem do comando de válvulas Cv3.
e) - Engrenagem do comando de válvulas Cv4.
f) - Polia guia.
g) - Engrenagem da árvore de manivelas.
h) - Polia tencionadora.
7)- Confirme que a correia de sincronismo tencione entre as engrenagens no lado oposto ao tencionador.
8)- Solte o parafuso tencionador (fig. 6) e gire a polia tencionadora depois os pinos nos buracos acima do parafuso (fig. 14).

9)- Segure a polia tencionadora firmemente contra a correia e aperte ligeiramente o parafuso (fig. 6).
10)- Confirme que as marcas de sincronismo estejam alinhadas (fig. 4 e 5) e remova os clipes das engrenagens do comando de válvulas.

11)- Gire a árvore de manivelas lentamente ¼ de volta à esquerda.
12)- Gire a árvore de manivelas lentamente à direita até o cilindro N° 1 no ponto morto superior de compressão com as marcas de sincronismo alinhadas (fig. 4 e 5).


13)- Solte o parafuso tencionador (fig. 6).
14)- Instale a ferramenta N° MD998767 e um torquímetro na polia tencionadora (fig. 15).

15)- Aplique um torque de 98Kg.cm na polia e 48Nm no parafuso tencionador (fig. 6).
16)- Remova o pino retentor da barra (fig. 16), confirmando se o pino pode ser retirado facilmente.
17)- Gire a árvore de manivelas lentamente duas vezes à direita até o cilindro N° 1 no ponto morto superior de compressão com as marcas de sincronismo alinhadas (fig. 4 e 5).
18)- Espere 5min. E cheque se o pino (fig. 16) pode ser inserido e retirado facilmente.

19)- Confirme que o comprimento da barra (fig. 12) é 0.15-0.18"pol. (4-5mm), se não for repita os procedimentos 11 a 19.
20)- Instale os componentes na ordem inversa de que foram removidos.
21)- Aplique um torque de 176-186Nm no parafuso da polia da árvore de manivelas.
22)- Aperte os parafusos do delimitador do suporte da montagem do motor em ordem (fig. 7) a (fig. 10) no torque especificado, lubrificando o parafuso (fig. 7) durante o tencionamento.

| Nota: Se a correia de sincronismo foi trocada por causa de quebra, códigos de interferência podem ter sido gravados e o sistema de gerenciamento do motor podem necessitar de nova programação básica. Conecte um SCANNER no conector de dados e siga as instruções do nosso manual de Injeção. |