Capitulo 22
Aplicativo Chrysler
Motor 420 A, EDZ
Sebring 2.0L DOHCCirrus 2.4L DOHC
Sebring Conversível 2.4L DOHC
Ano: 1995-97
Cirrus:Chrysler recomenda a troca a cada 105.000 milhas (231.000Km).
Sempre deve ser levados em conta o uso prévio e a história de serviço do veículo.
Caso não haja a instalação da correia com precisão, pode haver dano nos pistões e Válvulas.
Um cheque de compressão de todos os cilindros deveria ser executado antes de remover o CABEÇOTE.
1)- Apóie o motor e remova:
- Protetor de água direito. - Radiador. - Delimitador e montagem direita do motor. - Correias de acessórios adicionais. - Parafuso da polia da árvore de manivelas (fig.8). - Polia da árvore de manivelas (fig.1), usando o puxador. - Protetores da correia de sincronismo (fig.2).
2)- Gire a árvore de manivelas à direita até o cilindro N° 1 no ponto morto superior de compressão com as marcas de sincronismo alinhadas
3)- Desrosqueie os parafusos retentores (fig.
9 do diagrama) e remova o auto-tencionador (fig. 3).4)- Remova a correia de sincronismo.
1)- Cheque se o auto-tencionador não está danificado ou com vazamentos, troque se necessário.
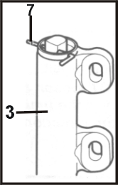
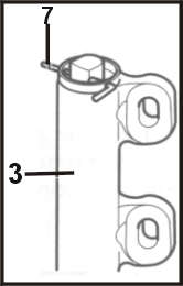
2)- Compressione lentamente ao contrário o tencionador até que os buracos da barra e do corpo estejam alinhados e insira uma chave Allen ou pino (fig. 7) para reter a barra.

3)- Confirme que as marcas de sincronismo do comando de válvulas estejam alinhadas (fig.
4).
4)- Marque a marca de sincronismo da árvore de manivelas (fig.
5 do diagrama) ½ dente antes da marca do ponto morto superior.
5)- Instale a correia de sincronismo nas engrenagens e polias na seguinte ordem:
- Engrenagem da árvore de manivelas. - Engrenagem da bomba dágua. - Polia guia. - Engrenagem de entrada do comando de válvulas. - Engrenagem de saída do comando de válvulas. - Polia tencionadora.6)- Gire a árvore de manivelas à direita até que as marcas de sincronismo no ponto morto superior (fig.
5 do diagrama) estejam alinhadas, para tencionar um pouco a correia.7)- Instale o auto-tencionador (fig.
3), mas não aperte os parafusos retentores (fig. 9 do diagrama).
8)- Aplique um torque de 28Nm à direita na polia tencionadora (fig.
6 do diagrama).9)- Com o torque aplicado no tencionador, empurre firmemente o auto- tencionador contra o delimitador da polia tencionadora e aplique um torque de 31Nm nos parafusos retentores (fig. 9 do diagrama).
10)- Remova a chave Allen ou pino (fig.
7) do auto-tencionador.11)- A tensão da correia estará correta se a chave Allen ou pino puder ser retirado e colocado livremente, se não repita o procedimento 7 a 10.
12)- Gire a árvore de manivelas lentamente duas vezes à direita que as marcas de sincronismo fiquem alinhadas.
13)- Espere 5 minutos, e cheque se a chave Allen ou pino pode ser retirado e colocado livremente, se não repita o procedimento 7 a 12.
14)- Instale os componentes na ordem inversa de que foram removidos.
15)- Aplique um torque de 140Nm no parafuso da polia da árvore de manivelas (fig.
8).Nota: Se a correia de sincronismo foi trocada por causa de quebra, códigos de interferência podem ter sido gravados e o sistema de gerenciamento do motor podem necessitar de nova programação básica. Conecte um Scanner ou consulte nosso manual de Injeção no conector de dados e siga as instruções do fabricante ou mande o veículo até a concessionária.